TURISTINĖS BAIDARĖS
Baidarės parengimas
Tento gamyba
Vidutinio sudėtingumo maršrutuose, kai bangų aukštis viršija 30-40 cm, reikia uždengti kokpitą tentu, kad vanduo nepatektų į vidų. Kaip buvo minėta, tam tikrų baidarių (RZ-85, „Kolibri") komplekte yra tentai, Tačiau, ištikus avarijai, jų liukų konstrukcija trukdo irkluotojui greitai iššokti iš baidarės. Tokie tentai tinka tik poilsio žygiams paprastais maršrutais.
Tentui labiausiai tinka gumuotas audinys (klijuotė). Galima vartoti ir ceratą arba brezentą. Reikia turėti omenyje, kad sušlapęs brezentas traukiasi, todėl jis siuvamas truputį didesnis.

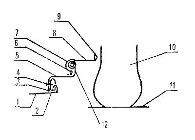
3 pieš. Baidarės saugos tento konstrukcija: 1 - tentas, 2 - liuko anga, 3 - pakelta sėdynėlė, 4 - liuko angos kraštas, kuriame įsiūtas standus lankas
Baidarės tento konstrukcija parodyta 3 pieš. Tentas tvirtinamas prie falšbortų. Reikia stengtis, kad jo kraštai būtą gerai prigludę prie falšborto, tada mažiau vandens patenka į vidų pro tento ir falšborto sandūrą. Tento kraštuose kas 30-40 cm iškerpamos skylutės ir įkišami metaliniai liuversai. Vėliau tentas užtempiamas ant falšbortų ir pažymimos liuversų vietos ant falšborto kraštų. Jei falšbortas medinis (RZ-85, „Saliut" tipo baidarių), pažymėtose vietose įsukami medvaržčiai su pusapvalėmis galvutėmis, telpančiomis į liuversų skylutes. Tentas uždengia falšbortus ir bangolaužį.

4 pieš. Tento dalies pjūvis A-A (su irkluotojo sijonėliu): 1 - baidarės deka, 2 - falšbortas, 3 - virvė, prisiūta prie tento krašto, 4 - medvaržčiai, už kurių užkabinami tento liuversai, 5 - tentas, 6 - gumos juosta, 7 - lankas, įsiūtas liuko sienelės virsuje, 8 - sijonėlis, 9 - guminis diržas, įvertas į viršutinį sijonėlio kraštą, 10 - irkluotojas, 11 - sėdynėlė, 12 - liuko sienelė
Viršutiniame liuko krašte (žr. 4 pieš.) įsiuvamas stangrus lankas. Tam tinka polietileninis gimnastikos lankas, sutrumpintas iki reikiamo dydžio, o sudūrimo vietoje į vidų įkišama medinė arba plastmasinė įvorė, sudūrimo vieta sulydoma. Liuko forma gali būti apvali, apie 40 cm diametro, arba šiek tiek ovali (tada irkluotojui lengviau įlipti ir išlipti iš baidarės).
Kad apsisaugotų nuo vandens, irkluotojas liuke sėdi su neperšlampamu sijonėliu. Jo kraštuose įveriama stangri guma, kuri užmaunama ant liuko lanko. Prie irkluotojo juosmens sijonėlis tvirtinamas diržu arba petnešomis, kad, pavojaus metu šokant iš baidarės, nuo juosmens nusmukęs sijonėlis nesupančiotų kojų. Sijonėlio guma turi būti įtempta taip, kad jis nesunkiai atsiskirtų nuo liuko lanko, irkluotojui pasispyrus kojomis. Tačiau gumą įtempkite taip, kad sijonėlio nenuplėštų bangos smūgis (galima imituoti smūgį delnu). Tokio tento reikia ne tik sudėtingoms kelionėms. Jis rekomenduotinas ir keliaujant paprastais maršrutais blogu oru: lyjant lietui, esant žemai oro temperatūrai (ypač vėlų rudenį arba ankstyvą pavasarį).
Vairas
Visose pramonės gaminamose baidarėse yra įtaisyti vairai. Jie sutaupo dalį jėgų ir laiko, ypač keliaujant vingiuotomis upėmis. Tačiau plaukiant per vandens kliūtis, sekliomis upėmis, ypač kai manevruojant reikia irkluoti atgal, vairas trukdo.
Vairas tinka poilsio maršrutams, kai kliūčių nedaug, taip pat plaukiojant ežerais. Žemų kategorijų sportiniuose maršrutuose, kuriuose vandens turistai paprastai mokosi irklavimo technikos, keliavimo taktikos gudrybių, kad pasirengtų sudėtingesnėms kelionėms, vairas nerekomenduotinas. Sudėtingesnėms kelionėms (nuo III s. k.) vairas paprastai nevartojamas. Vandens turizmo technikos varžyboms jo išvis nereikia, o ralio, maratono tipo varžybose vairas kartais (priklauso nuo trasos ypatybių) labai padeda.
Rengiantis plaukti be vairo, patartina nuimti ne tik jo plunksną, bet ir balerį („Saliut" tipo baidarėms). Kitų tipų baidarių plunksna nuimama kartu su baleriu ir rumpeliu. Tačiau prie achterštevenio lieka du aštrūs vairo tvirtinimo elementai, kurie gali praplėšti netoliese atsidūrusios draugo baidarės apvalkalą. Kad taip neatsitiktų, į jų tarpą reikia įkišti medinį pagaliuką ir pritvirtinti jį vinimis arba medvaržčiais.
Rengiantis keliauti su vairu, reikia perdirbti jo mechanizmą. Pavyzdžiui, nepatogi baidarės "Saliut" vairo valdymo pedalų vieta forpike. Geriausia pedalus tvirtinti prie vertikalios ašies, o juos įrengti kokpite, prie antrojo irkluotojo kojų.
Prie falšborto rekomenduojama tvirtinti vairo pakėlimo rankeną. Jos reikia tam, kad galima būtų greitai užfiksuoti vairą pakeltą, o tai svarbu plaukiant per kliūtis.
Protektoriai
Protektorius geriausia klijuoti prie surinktos baidarės dugno. Kai apvalkalas įtemptas, gerai matyti vietos, kuriose prie apvalkalo liečiasi stringeriai, kilsono išilginiai elementai. Protektorių plotis - 4-5 cm.
Protektoriai su gumos pagrindu (pavyzdžiui, ofsetas) klijuojami klijais: gumos arba 88-H. Lengviau tepti skystesnius klijus. Jei jie sutirštėję, reikia skiesti tirpikliais (gumos klijus - aviaciniu benzinu, klijus 88-H - skiedikliu 647 ar pan.).
Baidarei su polichlorvinilo apvalkalu protektoriai gaminami išilgai perpjovus polichlorvinilo vamzdelį, vartojamą ryšių technikoje. Tokie protektoriai klijuojami klijais „Feniks" arba cikloheksanonu, o dažniausiai prilydomi įkaitinta peilio pavidalo geležte.
Irklai
Nuo irklo kokybės priklauso žygių, turizmo varžybų sėkmė. Lūžus irklui per varžybas, blogiausiu atveju teks iš jų pasitraukti. Sudėtingoje kelionėje tai gali būti avarijos priežastis. Todėl irklus reikia ypač kruopščiai paruošti. Jų kokybė lemia ir techninių veiksmų kokybę.
Metaliniai irklai („Saliut", „Taimen" tipo baidarių) yra patogūs, lengvi, bet nepakankamai patikimi. Rengiantis kategoriniams žygiams ir varžyboms, reikia irklų menčių galus apkaustyti 4-5 cm pločio ir 1-1,5 mm storio duraliuminio plokštelėmis. Jos kniedijamos menčių galuose išorinėje pusėje (5 pieš.), užkišus tarp irklo koto galo ir mentės. Tam reikia išmušti esamą kniedę ir vėl sukniedyti su įdėta plokštele. Jei plokštelę tvirtintumėte vidinėje mentės pusėje, pablogėtų irklo savybės.

5 pieš. Duraliuminio irklo mentės apkaustymas: 1 - kniedijama duraliuminio plokštelė, 2 - iš naujo kniedijamas sujungimas
Taip apkaustytu irklu drąsiai galima remtis į upės dugno akmenis ir nebijoti sulenkti irklo mentę.
Baidarės „Katran" irklo mentė atsparesnė smūgiams, todėl jos apkaustyti nereikia. Irklo kotas ilgainiui išlinksta, dėl to irklus reikia ypač saugoti.
Baidarės RZ-85 irklai per ilgi, nelabai atsparūs koto sujungimo su mente vietoje. Remiantis į gruntą, greitai atšerpetoja neapkaustytų menčių galai. Tačiau pačios mentės gana standžios, gerai „laiko" vandenį.
Baidarių „Saliut" ir „Taimen" irklai taip pat per ilgi, neatsparūs sujungimų vietose, mentės nepakankamai standžios, dėl to greitai judant vandenyje vibruoja.
Kad duraliuminio irklo kotas neteptų rankų, jis apvyniojamas polichlorvinilo izoliacine juosta. Metalinis koto paviršius tiesiogiai nesiliečia su irkluotojo delnu, todėl, kai oro temperatūra žema, mažiau šąla rankos.
Vandens turistai dažnai trumpina baidarių „Taimen", „Saliut" irklus - nupjauna dalį irklo koto prie mentės. Taip daryti nėra gerai - sutrumpintas koto dalis sunku sujungti su vidurine jo dalimi, sujungimo vietoje kotas greičiau lūžta. Geriau trumpinti vidurinę koto dalį perpjaunant per vidurį ir, į vidų įstačius mažesnio diametro vamzdžio dalį, vėl sujungiant.
Prieita prie nuomonės, kad geriausias irklas - ištisinis (neišardomas) su sportinės baidarės mentėmis ir duraliuminio vamzdžio kotu. Mentės apklijuojamos stiklo audiniu epoksidiniais klijais. Koto vamzdžio diametras - 30 mm, sienelių storis - 1 mm.
Sportiniam turizmui optimalus irklo ilgis kiekvienam irkluotojui turi būti toks, kad vertikaliai pastatyto irklo ilgis viršytų aukštyn iškeltos rankos aukštį ne daugiau kaip 10 cm.
Baidarių remontas
Remontuojamas baidarių apvalkalas arba karkasas. Skylės gumuotame apvalkale užklijuojamos gumos arba gumuoto audinio lopais. Jei skylės dydis viršija 6-8 cm, reikia iš pradžių jos kraštus susiūti tvirtais siūlais ir tik paskui klijuoti. Paprastai klijuojama gumos arba 88-H klijais. Klijuojami paviršiai turi būti sausi, pašiurkštinti švitriniu popieriumi, nuvalyti benzinu. Gumos lopus reikia apkarpyti, kad būtų be kampų. Klijai turi būti skysti, tepami plonu sluoksniu. Lopas dėtinas ne tik išorėje, bet ir iš vidaus. Vidiniam lopui tinka plonesnė guma (pavyzdžiui, dviračio kameros). Lopas nesilaikys, jei bus klijuojamas ant drėgno paviršiaus, jei klijų sluoksnis bus per storas arba nepakankamai išdžiovintas, jei ant klijuojamo paviršiaus pateks nešvarumų.
Žygyje ne visada būna palankus oras lopui priklijuoti (lyja lietus, žema oro temperatūra ir pan.). Ką daryti, jei laukti negalima? Rekomenduojama klijuojamus paviršius apšlakstyti benzinu ir... padegti, po 5-8 sekundžių liepsną užpūtus, greit užtepti ploną klijų sluoksnį. Ant karšto sauso paviršiaus klijai greitai džiūsta. Toks lopas paprastai laikosi iki žygio pabaigos. Namuose jį reikia perklijuoti. Aišku, taip klijuojant, reikia būti atsargiems. Šlakstyti benziną patartina iš plastmasinių flakonų su siauru kakleliu (pavyzdžiui, skirtų alyvai lašinti), kad būtų taupiau.
Užklijavus skylę klijais (gumos, 88-H arba "Moment"), baidarę galima leisti į vandenį po 10-15 min. Jei temperatūra žema, reikia palaukti ilgiau. Ne visada reikia skylę klijuoti. Dažnai pakanka užkišti ją porolono ar audinio gabaliuku ir, retkarčiais iš baidarės išpilant vandenį, plaukti į numatytą vietą. Vakare prie laužo galima gerai užklijuoti skylę.
Polichlorvinilo apvalkalo skylės klijuojamos tam tikrais klijais arba cikloheksanonu, kuriame ištirpinti gabaliukai polichlorvinilo. Tačiau dažniausiai turistai lopus prilydo įkaitinta peilio pavidalo geležte. Šis būdas gan patogus ir greitas, nes nereikia klijuojamų paviršių džiovinti, geležtė įkaitinama laužo žarijose. Lopams šiuo atveju tinka polichlorvinilo gabalai.
Lūžusio karkaso remontui reikia turėti pasiruošus įrankių ir medžiagos. Remonto rinkinio komplekte turi būti replės, atsuktuvas, lenktinis peilis, medvaržčių bei vinukų rinkinys, izoliacinės juostos ritinėlis, rinkinys skylėms klijuoti (klijų, švitrinio popieriaus, gumos bei gumuoto audinio atraižų, benzino flakonas, degtukų dėžutė, skudurėlis valymui), siūlų su adatomis, brezento atraižų, vielos gabaliukų.
Lūžus karkaso elementams, žygyje geriausia dėti medinį įtvarą ir stipriai apvynioti medvilnine virvute.
Baidarės parengimas žygiui
Prieš kelionę reikia rūpestingai apžiūrėti visus karkaso elementus, sutaisyti ir pakeisti sužalotas detales, patikrinti ir sutvarkyti sujungimus.
Reikia atidžiai patikrinti apvalkalą, rūpestingai užklijuoti visas skyles ir pratrintas vietas, pro kurias apvalkalo audinys gali sušlapti ir sutrūnyti, nors išoriniai sluoksniai ir būtų sveiki. Taip pat reikia perklijuoti senus lopus. Jei baidarė nauja, reikia priklijuoti protektorius. Plaukiojant sekliomis upėmis, greičiausiai sudyla tokie protektoriai, kurie priklijuoti ties kilsonu. Pakišus baidarės viduje po kilsonu amortizuojamosios medžiagos (porolono, minkštos storos gumos) juostų, protektoriai dyla mažiau.
Baidarės bagažas
Mantą baidarėje reikia išdėlioti taip, kad svoris vienodai pasiskirstytų išilginės ašies atžvilgiu ir baidarė turėtų nedidelį diferentą (pasvirimą) paskuigalio link. Taip pakrautai baidarei lengva laikytis kurso. Žygio mantą reikia sudėti į neperšlampamus maišus (70—90 cm aukščio ir 25—35 cm diametro). Tokių dydžių maišus patogu įkišti į baidarės achterpiką ir forpiką, naudotis jais vietoje sėdynėlių. Be to, virvutėmis arba diržais juos galima pririšti prie stringerių po deka baidarės šonuose. Daiktai j maišus dedami sugrupuoti pagal paskirtį, kad vienu metu nereikėtų atrišinėti daug maišų. Kiekvienas daiktas turi savo pastovią vietą. Kasdien vartojami daiktai (drabužiai, maisto produktai, remonto rinkinys ir pan.) turi būti sudėti arčiau, o mažiau reikalingi (kuprinė, išeiginiai drabužiai, baidarės maišai ir pan.) - toliau.
Keliaujant tolimais maršrutais, ypač kur vietos negyvenamos, kiekvienoje baidarėje turi būti daiktų, garantuojančių ekipažo savarankiškumą (maistas, nakvynė), jei tektų atsiskirti nuo grupės dėl nenumatytų aplinkybių.
Baidarės priežiūra
Kad baidarė būtų patikima ne vieną sezoną, reikia ją kruopščiai prižiūrėti ne tik žygyje, bet ir jos laikymo vietoje. Pagrindinė sąlyga - po žygio gerai išdžiovinti baidarės apvalkalą. Ypač kruopščiai reikia patikrinti apvalkalo siūles - jos džiūsta blogiausiai. Laikyti baidares reikia sausoje, uždaroje patalpoje.
VANDENS TURISTO ŽINYNAS ⚬ Pratarmė ⚬ Truputis istorijos ⚬ KUO KELIAUTI? ⚬ Turistinės baidarės. Bendri duomenys ⚬ Turistinės baidarės. Baidarių tipai, savybės ⚬ Turistinės baidarės. Namudinės baidarės ⚬ Turistinės baidarės. Baidarės parengimas ⚬ Turistinės baidarės. Baidarės RZ-85 parengimas ⚬ Vidutinės pripučiamosios valtys ⚬ Pripučiamųjų irklinių valčių rūšys, jų techninės charakteristikos ⚬ Vidutinės pripučiamosios valtys. Valčių registracija ⚬ Vidutinės pripučiamosios valtys. Valties parengimas kelionei ⚬ Vidutinės pripučiamosios valtys. Kito kelionės inventoriaus parengimas ⚬ Vidutinės pripučiamosios valtys. Valties ir inventoriaus remontas ⚬ Vidutinės pripučiamosios valtys. Valties pakrovimas ir ekipažo išsidėstymas ⚬ Didelės pripučiamos valtys ⚬ Katamaranai ⚬ Katamaranai. Katamaranų konstrukcija ⚬ Katamaranai. Mantos krovimas, remontas, priežiūra ⚬ KAIP KELIAUTI? Upių locijos pagindai ⚬ Maršruto kliūtys ⚬ Turistinio laivo valdymo technika ⚬ Keliavimo taktika ⚬ Žygio saugumas. Inventorius ⚬ Žygio saugumas. Plaukimo priemonių parengimas ⚬ Žygio saugumas. Rengimasis žygiui ⚬ Žygio saugumas. Kliūčių įveikimas ⚬ Žygio saugumas. Apvirtusių laivelių ir jų ekipažo gelbėjimas ⚬ Žygio saugumas. Apvirtusio laivelio ekipažo narių veiksmai ⚬ Žygio saugumas. Gelbėjimo darbai ⚬ Žygio saugumas. Saugumo ypatumai keliaujant pripučiamaisiais laiveliais ⚬ Vandens turistų inventorius. Asmeninis inventorius ⚬ Vandens turistų inventorius. Grupinis inventorius ⚬ Turisto etika ⚬ Gamtos apsauga ⚬ Turisto higiena ir pirmoji medicinos pagalba. Fizinis pasirengimas. Turisto savikontrolė ⚬ Turisto higiena ir pirmoji medicinos pagalba. Pirmoji medicinos pagalba ⚬ Turisto higiena ir pirmoji medicinos pagalba. Žygio vaistinėlė ⚬ Turistinių sportinių žygių organizavimo taisyklės ⚬ Turistinių sportinių žygių organizavimo taisyklės. Maršruto dokumentacija ⚬ Turistinių sportinių žygių organizavimo taisyklės. Etaloniniai maršrutai Lietuvoje ⚬ KUR KELIAUTI? Vandens turizmo maršrutai. Bendra Respublikos upių charakteristika ⚬ Vandens turizmo maršrutai. Didžiosios Lietuvos upės ⚬ Vandens turizmo maršrutai. Vidutinės Lietuvos upės ⚬ Vandens turizmo maršrutai. Kai kurios mažos Lietuvos upės ⚬ Vandens turizmo maršrutai. Vandens maršrutai už Respublikos ribų ⚬ Vandens turizmo renginiai ⚬ Priedai ⚬ Literatūra












