TURISTINĖS BAIDARĖS
Baidarių tipai, savybės
Baidarių, kuriomis pastaruoju metu plaukioja vandens turizmo mėgėjai, duomenys yra pateikti 2 lentelėje.
Baidarė „Kolibri" (VDR gamybos) - lengva, nedidelė, telpanti į vieną maišą. Ji skirta trumpoms kelionėms ramiais vandenimis. Apvalkalo apatinė dalis aptraukta polichlorvinilu, kuris nebijo naftos produktais užteršto vandens ir tiesioginių saulės spindulių (ne taip, kaip gumuotas audinys). Kilsonas lentelės pavidalo, todėl, keliaujant sekliomis upėmis, akmenys greitai pratrina dugną. Karkaso elementų sujungimai nėra patikimi. Pavyzdžiui, žygyje kartais suyra falšborto sujungimai. Jų vietas reikia dar tvirtinti. Pagrindinis baidarės privalumas - mažas svoris ir dydis. Ji rekomenduotina poilsio bei I-II s. k. žygiams gyvenamomis vietomis, nes mantos galima pasiimti ribotai.

Baidares „Lastočka-1" ir „Lastočka-2" (vienvietę ir dvivietę) gamina TSRS pramonė. Jos yra lengvos, patikimos, remontuoti jas nėra sunku. Eiklumas, palyginti su karkasinėmis baidarėmis, mažesnis. Kokpitas mažas, todėl galima pasiimti tik nedaug žygio mantos. Kadangi virš vandens esanti dalis aukšta, plaukiant sunkiau taikyti vandens slalomo techniką. Ši baidarė rekomenduotina poilsio ir žemų kategorijų žygiams. Gerai pasirengus, su „Lastočka-1" galima sėkmingai keliauti ir sudėtinguose žygiuose.
Vidutinės baidarės tarp vandens turizmo mėgėjų labiausiai paplitusios. Jos paprastai būna dvivietės, gana talpios, tinka kelionėms įvairaus pobūdžio maršrutais - ir poilsio žygiams, ir sudėtingoms kelionėms kalnų upėmis. Šios baidarės plačiai taikomos vandens turizmo technikos, ralio, maratono tipo varžybose.
„Saliut M 4,7" - prieš keletą metų buvo viena iš populiariausių baidarių (šiuo metu jos nebegaminamos). Dėl lašo formos korpuso ties vaterlinija (priekis bukesnis už paskuigalį) baidarė nėra eikli. Tačiau tai yra jos privalumas plaukiant per aukštas bangas - baidarės priekis „lipa" ant bangos, todėl jį mažiau užpila vanduo. Baidarės „Saliut" karkasas sudarytas iš duraliuminio vamzdelių, išskyrus medinį kilsoną ir falšbortus. Baidarė talpi, tinka ilgoms kelionėms negyvenamomis vietovėmis. Apatinė apvalkalo dalis iš gumuoto audinio, viršus brezentinis. Baidarę nesunku žygyje remontuoti, nes, atsitikus avarijai, duraliuminio vamzdeliai dažniausiai sulinksta, o ne lūžta.
Keliaujant sekliomis upėmis (kurių vasarą mūsų Respublikoje yra daug), nuo trinties į akmenis gan greit dyla dugno apvalkalas. Prieš žygį būtina baidarės dugną ties kilsonu bei stringeriais apklijuoti gumos arba gumuoto audinio protektoriais - 4-5 cm pločio juostomis.
Eksploatuojant gan greitai sugenda stringerių sujungimo fiksatoriai. Sudedant arba išardant baidarės karkasą, su jais reikia labai atsargiai elgtis. Nėra stiprūs falšborto sujungimai, medinis kilsonas per silpnas, nelabai patikimi kilsono dalių sujungimo fiksatoriai. Sudėtingam žygiui reikia kilsoną tvirtinti medinėmis kartelėmis. Baidarės irklai per ilgi.
„Taimen" - šiuo metu pramonės gaminama baidarė vietoje „Saliut". Ji neturi kai kurių baidarių „Saliut" trūkumų.
Baidarės „Taimen-2" (dvivietis variantas) gaminamos aštuonių modifikacijų, kurios skiriasi apvalkalo medžiaga, komplektacija, kaina. II, IV, VI modifikacijų baidarės komplektuojamos su tentu ir sijonėliais irkluotojams, kurie apsaugo nuo vandens purslų.
Daugiausia paplitusios VI modifikacijos baidarės. Jos komplektuojamos su dviem hermetiškais maišais (kurie, deja, greit sudyla) ir gumuoto audinio atraižomis, iš kurių galima pasidaryti protektorius dugnui. Tačiau plaukiojant sekliomis upėmis (mūsų Respublikoje jų yra daug), tokių protektorių nepakanka. Kadangi kilsonas, kaip ir visas baidarės karkasas, pagamintas iš duraliuminio vamzdelių, o dugno apvalkalas ties kilsono išilginiais elementais smarkiai ištemptas, seklios upės žvirgždas bei akmenys greitai pratrina apvalkalą ties kilsonu. Todėl protektoriai, priklijuoti prie dugno ties kilsonu, turi būti ypač stori. Tačiau ir tai ne visada padeda. Upės akmenys it dildė prarėžia ir storus protektorius. Išeitis tik viena - taikyti smūgius amortizuojančias medžiagas. Šiam atvejui tinka storos, kiek galima minkštesnės gumos (ne gumuoto audinio!) 3—4 mm storio protektoriai, taip pat porolono juostos, pakištos po kilsono išilginiais elementais baidarės viduje.
Baidarės "Taimen" forpikas ir achterpikas yra gana trumpi, simetriški, stipriai smailėjantys, kokpitas ilgas. Bangolaužio nėra, o falšbortas menkas. Paprastuose maršrutuose su šiomis baidarėmis keblumų nebūna. Tačiau plaukiant sudėtingesnėmis upėmis, taip pat į atvirus vandenis, kur bangų aukštis viršija 15—20 cm, būtina apsaugoti baidarę nuo vandens, kuris gali ją užpilti. Tam reikia kokpitą aptraukti specialiu tentu (jo konstrukcija bus toliau aprašyta).
Kadangi "Taimen" galai ties kilio linija išriesti, baidarė, kai vanduo ramus ir srovė silpna, būna gan manevringa. Jei srovė stipri, bangos pastovios (tai būdinga aukštesnių kategorijų maršrutams), trumpus baidarės galus užpila bangos ir skandina nuopilai, ją pasidaro sunku valdyti. Šiuo atžvilgiu sudėtingose kelionėse kalnų upėmis pirmenybę reikėtų teikti baidarėms ,,Saliut".
Baidarės „Taimen" konstrukcijos privalumas - uždari španhautai kokpite. Dėl to karkasas atsparesnis šonų gniuždymui, visa konstrukcija paprastesnė. Daug patikimesni stringerių sujungimai. Lengviau šią baidarę surinkti. Irklai trumpesni ir lengvesni.
Kilsono dalių ir španhautų sujungimų fiksavimas metaliniais kaišteliais nėra patogus. Eksploatuojant kaišteliai dažnai deformuojasi, ir sunku jais naudotis. Avarijoje lūžusį ar sulinkusį kilsoną sutaisyti gana sunku. Irklo koto vamzdžio sienelės plonesnės, todėl kotas greičiau lūžta. Žygiuose irklus reikia ypač saugoti.
Nors ir ne be trūkumų, šios baidarės konstrukcija, palyginti su „Saliut", yra tobulesnė, o jos eksploatacija patogesnė.
Baidarė "Taimen-2" rekomenduotina poilsio, taip pat mažų ir vidutinių sudėtingumo kategorijų žygiams.
"Taimen-3" - trijų vietų baidarė. Jos konstrukcija tokia pati kaip ir "Taimen-2", tik jos kokpitas ilgesnis. Visos baidarės ilgis 6 m. Tai bene ilgiausia turistinė baidarė. Jos savybės panašios į "Taimen-2", tik manevringumas mažesnis. Ypač tai jaučiama plaukiant mažais vingiuotais upeliais. Ši baidarė rekomenduotina žemų kategorijų žygiams.
RZ-85 - populiari baidarė. Nedaug jų importuojama iš VDR. Nors jos ir turi trūkumų (gana sunkios, nelabai patogiai supakuotos, joms reikia kruopščios priežiūros), tačiau yra labai eiklios ir manevringos (perdirbus karkasą), grakščios. Baidarė komplektuojama su tentu, saugančiu irkluotojus nuo vandens purslų. Poilsio žygiuose toks tentas tinka, tačiau sudėtingesniuose maršrutuose (nuo II—III sudėtingumo kategorijų) jo konstrukcija neatitinka saugumo technikos reikalavimų. Jį reikia perdirbti (apie tai bus rašoma vėliau).
Kadangi baidarės karkasas medinis, jis ne toks atsparus smūgiams, greičiau dyla. Todėl šią baidarę reikia ypač kruopščiai prižiūrėti ir kelionėje, ir gabenant, ir saugant (ne kelionių metu).
Baidarės apvalkalo apatinė dalis padengta polichlorvinilu. Papildomi dugno protektoriai pageidautini, nors nėra būtini. Apvalkalas negreit dyla dėl trinties į upės dugno akmenis.
Baidarės RZ mediniai irklai sunkoki ir ne visai patikimi. Irklo mentės greitai atsiklijuoja nuo koto. Reikia jas tvirtinti prie koto medvaržčiais.
Baidarė RZ-85 rekomenduotina poilsio bei žemo ir vidutinio sudėtingumo žygiams, vandens turizmo technikos varžyboms.
Baidare „Neptun" (Lenkijos gamybos) šiuo metu retai plaukiojama. Ji komplektuojama su bure ir stiebu. Bortuose yra pripučiamos „rankovės", didinančios plūdrumą ištikus avarijai. Baidarės stabilumas menkas. Tinka mažo sudėtingumo žygiams.
Baidarė „Saltut M 5,2" yra pati talpiausia. Nors ji yra trivietė, tačiau trise plaukti joje nepatogu. Irkluotojai sėdi gana arti vienas kito, todėl sunku manevruoti plaukiant per kliūtis. Ši baidarė kaip dvivietė tinkama žygiams įvairaus sudėtingumo maršrutais.
Jos konstrukcija atitinka „Saliut M 4,7". Skirtumas tik tas, kad ilgis padidėja 0,5 m įstačius vieną vidurinį španhautą ir papildomus stringerius, kilsono ir falšborto elementus baidarės vidurinėje dalyje. Atmetus šiuos elementus, galima surinkti baidarę „Saliut M 4,7" (aišku, į jos apvalkalą).
Baidarė „Katran" išsiskiria savita konstrukcija. Tai TSRS pramonės neseniai pradėta gaminti karkasinė pripučiamoji sportinio turizmo baidarė.
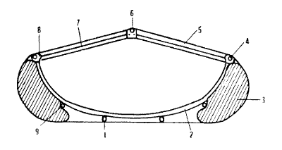
Jos karkasas pagamintas iš duraliuminio vamzdelių, o apvalkalas polichlorvinilinis, armuotas sintetiniu audiniu. Pripučiami šonų balionai suklijuoti iš sintetinio gumuoto audinio. Jie dedami šonuose per visą baidarės ilgį tarp apvalkalo ir karkaso elementų (2 pieš.). Nors konstrukcija nėra tobula, tačiau savo privalumais „Katran" aiškiai išsiskiria iš kitų baidarių. Čia vykusiai suderintos karkasinių ir pripučiamųjų baidarių geriausios savybės.

2 pieš. Karkasinės pripučiamosios baidarės pjūvis per vidurinį španhautą: 1 - kilsonas, 2 - apatinė španhauto dalis, 3 - pripučiamas balionas, 4 - viršutinis stringeris, 5 - apvalkalas, 6 - midelveisas, 7 - viršutinė španhauto dalis, 8 - viršutinio stringerio laikiklis, 9 - apatinis stringeris
Baidarės "Katran" pagrindinės konstrukcijos savybės:
1. Baidarės forma artima slalominio kajako formai, kitaip negu karkasinių išardomų baidarių, jos španhautai nelemia baidarės formos. Šonus formuoja pripučiami balionai.
2. Baidarė neturi falšbortų ir tradicinio atviro kokpito. Laivo viršutinė dalis vientisa, o irkluotojų sėdėjimo vietose įtaisyti ovaliniai liukai, tarpusavyje sujungti užsegama anga, pro kurią į apvalkalo vidų kišamas karkasas surenkant baidarę.
Šoniniai pripučiami balionai turi tokių privalumų:
1. Amortizuoja smūgius ir taip apsaugo baidarę nuo pažeidimų.
2. Neleidžia baidarei nuskęsti, jei ji apvirsta ir į ją pribėga vandens.
3. Padidina baidarės tvirtumą, standumą.
Kadangi kokpitas yra uždaras, smarkiai padidėja hermetiškumas. Septyni uždari španhautai garantuoja didelį atsparumą šonų gniuždymams. Baidarės bortas žemas, dugnas plokščias, todėl ją lengva valdyti. Išardomas karkasas turi visai nedaug detalių, todėl dviese jį galima surinkti per pusvalandį.
Baidarės trūkumai:
1. Per mažai vietos mantai susidėti. Reikia specialios formos bortmaišių.
2. Apvalkalo medžiaga neatspari trinčiai.
3. Karkasas neatsparus išilginiams gniuždymams.
4. Ne visai patikimos kai kurios sujungimų vietos.
5. Apvalkalas praleidžia vandenį pro siūles.
6. Nepatogu įtvirtinti irkluotojų kojas.
Dėl to, rengiant naują baidarę kelionei, reikia ją pertvarkyti: hermetizuoti apvalkalo siūles klijais "Moment" ar pan., prie dugno ties kilsono išilginiais elementais priklijuoti polichlorvinilo protektorius. Jie turi būti platūs, nes, deformuojantis šoniniams balionams, baidarė nebūna visai simetriška kilio linijos atžvilgiu, ir protektoriai pasislenka į šoną nuo kilsono. Be to, reikia kokpite hermetizuoti plyšius apvalkalo sujungimo vietose, pakeisti tinkamesne medžiaga kilimėlį, dedamą amortizacijai po kilsonu baidarės viduje. Komplektuojamo kilimėlio medžiaga per kieta, išmirkusi vandenyje ji suminkštėja ir sutrupa į smulkius gabalėlius. Gerai amortizuoja putų poliuretano kilimėlis - jis yra lengvas, nesugeria vandens, pakankamai elastingas.
Kad baidarės karkasas neiširtų ją pernešant, reikia virvutėmis sutvirtinti šoninių karkaso elementų sujungimo su španhautais vietas. Taip pat patartina fiksuoti II ir VI španhautų sujungimo su kilsonu vietas.
Taip pertvarkyta baidare galima vykti į mažo ir vidutinio sudėtingumo kategorijų žygius. Aukštų kategorijų kelionėms reikia papildomai stiprinti karkasą išilgine kryptimi.
VANDENS TURISTO ŽINYNAS ⚬ Pratarmė ⚬ Truputis istorijos ⚬ KUO KELIAUTI? ⚬ Turistinės baidarės. Bendri duomenys ⚬ Turistinės baidarės. Baidarių tipai, savybės ⚬ Turistinės baidarės. Namudinės baidarės ⚬ Turistinės baidarės. Baidarės parengimas ⚬ Turistinės baidarės. Baidarės RZ-85 parengimas ⚬ Vidutinės pripučiamosios valtys ⚬ Pripučiamųjų irklinių valčių rūšys, jų techninės charakteristikos ⚬ Vidutinės pripučiamosios valtys. Valčių registracija ⚬ Vidutinės pripučiamosios valtys. Valties parengimas kelionei ⚬ Vidutinės pripučiamosios valtys. Kito kelionės inventoriaus parengimas ⚬ Vidutinės pripučiamosios valtys. Valties ir inventoriaus remontas ⚬ Vidutinės pripučiamosios valtys. Valties pakrovimas ir ekipažo išsidėstymas ⚬ Didelės pripučiamos valtys ⚬ Katamaranai ⚬ Katamaranai. Katamaranų konstrukcija ⚬ Katamaranai. Mantos krovimas, remontas, priežiūra ⚬ KAIP KELIAUTI? Upių locijos pagindai ⚬ Maršruto kliūtys ⚬ Turistinio laivo valdymo technika ⚬ Keliavimo taktika ⚬ Žygio saugumas. Inventorius ⚬ Žygio saugumas. Plaukimo priemonių parengimas ⚬ Žygio saugumas. Rengimasis žygiui ⚬ Žygio saugumas. Kliūčių įveikimas ⚬ Žygio saugumas. Apvirtusių laivelių ir jų ekipažo gelbėjimas ⚬ Žygio saugumas. Apvirtusio laivelio ekipažo narių veiksmai ⚬ Žygio saugumas. Gelbėjimo darbai ⚬ Žygio saugumas. Saugumo ypatumai keliaujant pripučiamaisiais laiveliais ⚬ Vandens turistų inventorius. Asmeninis inventorius ⚬ Vandens turistų inventorius. Grupinis inventorius ⚬ Turisto etika ⚬ Gamtos apsauga ⚬ Turisto higiena ir pirmoji medicinos pagalba. Fizinis pasirengimas. Turisto savikontrolė ⚬ Turisto higiena ir pirmoji medicinos pagalba. Pirmoji medicinos pagalba ⚬ Turisto higiena ir pirmoji medicinos pagalba. Žygio vaistinėlė ⚬ Turistinių sportinių žygių organizavimo taisyklės ⚬ Turistinių sportinių žygių organizavimo taisyklės. Maršruto dokumentacija ⚬ Turistinių sportinių žygių organizavimo taisyklės. Etaloniniai maršrutai Lietuvoje ⚬ KUR KELIAUTI? Vandens turizmo maršrutai. Bendra Respublikos upių charakteristika ⚬ Vandens turizmo maršrutai. Didžiosios Lietuvos upės ⚬ Vandens turizmo maršrutai. Vidutinės Lietuvos upės ⚬ Vandens turizmo maršrutai. Kai kurios mažos Lietuvos upės ⚬ Vandens turizmo maršrutai. Vandens maršrutai už Respublikos ribų ⚬ Vandens turizmo renginiai ⚬ Priedai ⚬ Literatūra












